HOME
COMPANY
Company
Our Clients
OUR PRODUCTS
OUR SERVICES
QUALITY SYSTEM
CASE HISTORY
MOLTEN SALT Project
GDN-ENEL CERRO PABELLON Project
CONTACTS
English
Italiano
(
Italian
)
en
Languages
Italiano
English
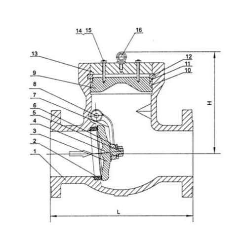
Swing Check Pressure Seal 2500LBS
01
Overview
ANSI Swing Check Valves - Pressure Seal Class 2500
Categories:
Cast Valves
,
Pressure Seal
,
Products
,
Swing Check
Share:
Email
X
Facebook
Google +
Pinterest
Tumblr
Linkedin
Vkontakte
02
Product Description
Download the PDF Data Sheet
Sections
01.
Overview
02.
Product Description
Product categories
Products
Ball Valves
Floating Steel Ball
Forged 2 pcs
Forged 3 pcs
Trunnion Mounted
Cast Trunnion Mounted
Forged Trunnion Mounted
Butterfly Valves
Cast Iron
Cast Steel
Cast Valves
Gate
Bolted Bonnet
Pressure Seal
Globe
Bolted Bonnet
Pressure Seal
Swing Check
Bolted Cover
Pressure Seal
Forged Valves
Bellow Sealed Gate
Bellow Sealed Globe
Check
Cryogenic Gate
Cryogenic Globe
Gate
Globe
Short Pattern Bellow Sealed Globe
Y Check
Y Globe
Y Type Bellow Sealed Globe