HOME
AZIENDA
Azienda
Clienti
PRODOTTI
SERVIZI
SISTEMA QUALITÀ
PROGETTI
MOLTEN SALT Project
GDN-ENEL CERRO PABELLON Project
CONTATTI
English
(
Inglese
)
Italiano
it
Languages
Italiano
English
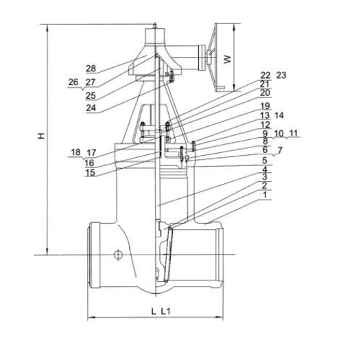
Gate Pressure Seal 900LBS
01
Overview
ANSI Gate Valves - Pressure Seal Class 900
Categories:
Cast Valves
,
Gate
,
Pressure Seal
,
Prodotti
Share:
Email
X
Facebook
Google +
Pinterest
Tumblr
Linkedin
Vkontakte
02
Descrizione Prodotto
Scarica la scheda in PDF
Sections
01.
Overview
02.
Descrizione Prodotto
Categorie prodotto
Prodotti
Ball Valves
Floating Steel Ball
Forged 2 pcs
Forged 3 pcs
Trunnion Mounted
Cast Trunnion Mounted
Forged Trunnion Mounted
Butterfly Valves
Cast Iron
Cast Steel
Cast Valves
Gate
Bolted Bonnet
Pressure Seal
Globe
Bolted Bonnet
Pressure Seal
Swing Check
Bolted Cover
Pressure Seal
Forged Valves
Bellow Sealed Gate
Bellow Sealed Globe
Check
Cryogenic Gate
Cryogenic Globe
Gate
Globe
Short Pattern Bellow Sealed Globe
Y Check
Y Globe
Y Type Bellow Sealed Globe